
1. 概述
ASS-3型高度空速传感器是陕西瑞特测控技术有限公司自行研制,用于测量无人机或直升机的气压高度和指示空速。该产品采用两个独立的高精度压力传感器分别测量静压和全压,选用高性能微处理器对检测信号进行分析、计算,并在全工作温度范围(-55℃~+70℃)内,对检测信号进行软件补偿。通过对大气压力和温度的测量,实时解算出飞行器的气压高度和指示空速,最终结果经过RS422接口输出。
2. 特点
数字式输出、精度高
适应温度范围宽、互换性强、年稳定性好
体积小、功耗低
抗潮湿、抗冲击、抗振动性能好
3. 产品应用
汽车高度测量仪
直升机或无人机气压高度和指示空速测量
捷联惯导系统
4. 技术指标
4.1 压力量程:静压:0hpa~1140hpa 全压:0hpa~1400hpa
4.2高度、速度工作范围:高度:-1000m~10000m 速度:0km/h~500km/h
4.3输出信号及精度(见下表)
|
项目 |
单位 |
参数 |
|
|
供电 要求 |
输入电压 |
V |
9~36 |
|
输入电流 |
mA |
<40(27Vdc) |
|
|
测量 范围 |
高度 |
m |
-1000~10000 |
|
速度 |
km/h |
0~500 |
|
|
气压 高度 标准 值及 误差 |
高度(m) |
静压值(hpa) |
高度误差(m) |
|
-1000 |
1139.29 |
±18 |
|
|
0 |
1013.25 |
±18 |
|
|
1000 |
898.76 |
±18 |
|
|
2000 |
795.01 |
±18 |
|
|
5000 |
540.48 |
±33 |
|
|
8000 |
356.52 |
±40 |
|
|
10000 |
265 |
±45 |
|
|
空速 标准 值及 误差 |
速度(km/h) |
差压值(hpa) |
速度误差(km/h) |
|
50 |
1.18 |
±10 |
|
|
80 |
3.03 |
±8 |
|
|
120 |
6.82 |
±6 |
|
|
200 |
19.03 |
±4 |
|
|
300 |
43.18 |
±3 |
|
|
500 |
123.16 |
±2 |
|
|
输出 特性 |
输出接口 |
串口 |
RS232/RS422/AN429 |
|
输出数据频率 |
Hz |
20 |
|
|
物理 特性 |
重量 |
g |
<200 |
|
体积 |
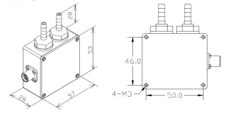
mm² | 57x53x28 | |
|
温度 |
º/C |
-55~+85 |
|
|
工作 环境 |
振动 |
g |
4(20~2kHz random) |
|
冲击 |
g |
10(半正弦) |
|
5. 产品外形尺寸
上一篇:RAS-2型气压高度计
下一篇:ASS-1型高度空速传感器


